由遼陽燦景鋰電研究所研究近日發明的“換液鋰電池”,破解了當下電動汽車充電慢的難題。

換液鋰電池—破解電動汽車充電慢技術瓶頸

中國電池網-中國電池雜志4月8日訊 由遼陽燦景鋰電研究所研究近日發明的“換液鋰電池”,破解了當下電動汽車充電慢的難題。

目前發展新能源電動汽車產業已成為各國發展的重點之一,但充電速度慢和安全性及高成本問題一直制約著電動汽車的快速發展。據了解,這種可換液鋰電池的發明將破解這一技術難題:它通過更換電池芯的方法可以在幾分鐘內完成充電,與加油車相媲美,徹底的解決了電動汽車充電速度慢的技術瓶頸!該電池的電芯為漿液狀可循環使用 ,既環保又大大的降低了成本!這種電池除了“換液充電”外還可以像現有鋰電池一樣進行常規充電,與現有的充電設施相結合,適應多種充電模式!

由于充電慢等原因,導致了電動汽車產業幾年來遲遲得不到長足的發展,進而影響了動力電池企業的成長及上下游產業的發展,該換液電池的出現實現了和加油車一樣方便的加能!因此將來發展這種“快充電池”更具應用性,它可以大量源源不斷的造“石油”并將其存儲在容器中,為隨時來加注的電動汽車服務,甚至還可以用專用罐車為拋錨的電動汽車送“油”!由于該電池具有快速充電的特點,將來只需要建少量的充電站即可,不需要建很多的充電樁,這將大大的減少電動汽車企業后期配套設施的投入!由于這種電池具有反復可修復的長壽命性,減少了對環境的污染,同時降低了電動汽車的成本!

蓄電池是整個電動汽車產業的源頭,是電動汽車的心臟,只有解決了快速充電、長壽命、無污染、低成本和安全性的問題,才能促使電動汽車產業的快速發展!進而帶動大量的電能加注站建設及后期服務,從而帶來數千億元的經濟效益和巨大的社會效益,該電池的問世對電動汽車產業具有里程碑上的意義,解決了電動汽車產業發展的一系列技術瓶頸(如續航,只需要在車體上加裝一些儲液罐就可使行車里程加倍),開啟了“電油”時代!

換液鋰電池—破解電動汽車充電慢技術瓶頸

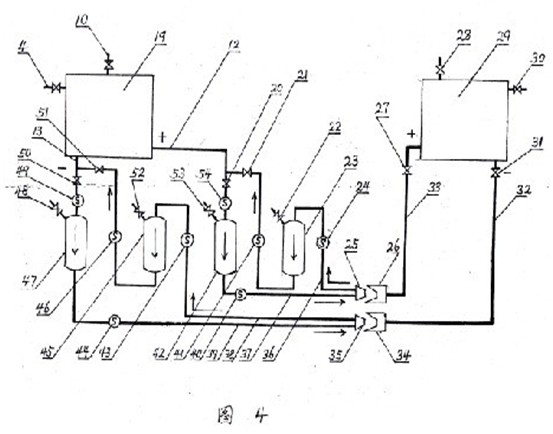
上述連接系統通過微電腦的程序化控制,可先將被換液電池體(29)里放電后的正、負無電電液通過b泵體(24)和f泵體(43)抽出暫存在a儲液罐(23)和c儲液罐(45)中,此時在被換液電池體正極電液管(33)上的電池閥(27)和負極電液管(32)上的電池閥(31)是打開的,還有電池體上的出氣閥(28)和(30)也是打開的;然后再將b儲液罐(42)和d儲液罐(47)中充好電的有電電液通過d泵體(40)h和泵體(44)加注到被換液電池體中,最后再將暫存在a儲液罐(23)和c儲液罐(45)中的正、負無電電液通過a泵體(21)和e泵體(51)分別回送到充電電池體(19)中進行再一次的充電過程(該裝置讓充電的時間得到重新分配,使客戶的長時充電時間轉移給了專業的充電站完成,從而解決了電動汽車充電速度慢的技術瓶頸)。該電池漿液可循環使用,節約資源,綠色環保,如同加油,方便快捷,開啟了汽車的“電油”時代!

(發明人:馬福 馬春 電話:13624970865  0419-7479043  郵箱:cana120@163.com)

[責任編輯:趙卓然]

免責聲明:本文僅代表作者個人觀點,與電池網無關。其原創性以及文中陳述文字和內容未經本網證實,對本文以及其中全部或者部分內容、文字的真實性、完整性、及時性,本站不作任何保證或承諾,請讀者僅作參考,并請自行核實相關內容。涉及資本市場或上市公司內容也不構成任何投資建議,投資者據此操作,風險自擔!

凡本網注明?“來源:XXX(非電池網)”的作品,凡屬媒體采訪本網或本網協調的專家、企業家等資源的稿件,轉載目的在于傳遞行業更多的信息或觀點,并不代表本網贊同其觀點和對其真實性負責。

如因作品內容、版權和其它問題需要同本網聯系的,請在一周內進行,以便我們及時處理、刪除。電話:400-6197-660-2?郵箱:119@itdcw.com

電池網微信
鋰電池
鋰電研究院